Обрезка осуществляется для устранения дефектных краевых частей кожи, которые могут быть причиной повреждения ее в ходе дальнейшей обработки. В производстве кож для низа обуви обрезку выполняют обычно вручную с помощью ножа. В производстве легких кож обрезка производится перед сушкой внаклейку или вакуумной, а главным образом при окончательной отделке кожи. В этом случае часто используется легкая ручная машина, снабженная диском с острыми краями, приводящимся в движение с помощью специального троса. На отечественных кожевенных заводах для обрезки краев применяют машину, кинетическая схема которой приведена на рис. 101. Необходимо учитывать, что обрезка оказывает влияние на выход кожи по площади.

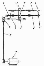
Рис. 101. Кинематическая схема машины для обрезки краев:
1 - дисковые ножи; 2 - валы; 3 - шестерни; 4 - пружина; 5 - шкив;
6 - клиноременная передача; 7- электродвигатель
|